Skocz do zawartości

Chowane podwozie do szybowca domowej roboty


Marcin

Rekomendowane odpowiedzi

Opublikowano

Udało mi się zrobić działające podwozie chowane, będące kopią oryginału. Jak dopieszczę mechanikę itp, umieszczę tutaj pełny opis 'how to' budowy takiego podwozia.

 

Foto prototypu:

p8061833t.jpg

 

p8061834.jpg

 

p8061835.jpg

 

p8061836.jpg

Opublikowano

Jeśli to goła sklejka to trochę wilgoci i będą problemy z działaniem (drewno puchnie).

Doświadczyłem tego wielokrotnie w gumówkach, jak miałem osadzenie ośki w kadłubie z twardego drewna.

 

Polecałbym Ci to xzaimpregnować.

Opublikowano

Dzięki za radę. Końcowe podwozie będzie zrobione z dwóch rodzai materiału. Sklejka 4mm na zewnętrzne boki (mogę zaimpregnować poprzez malowanie żywicą?) natomiast wnętrze, czyli ramiona na koło oraz mechanizm poruszający całością mam zamiar zrobić z jakiejś blachy mocniejszej (coś znajdę w garażu/szopie/piwnicy ;) )

Opublikowano

Czyżbyś jednak się zdecydował na podwozie do ASW?

Ja też stoję za laminatem lub blachą duralową. Blado widzę tą sklejkę przy lądowaniu. Próbowałeś obciążyć solidnie to podwozie?

Miłego dłubania.

Opublikowano

Podwozie do ASG nie do ASW ;) Generalnie jakieś podwozie w nim musi być. Jak mi się nie uda z chowanym do dam na razie stale, a chowane będę dłubał do perfekcji. Wpadne do elektronicznego dziś, jak będą mieli gruby laminat to wezmę. Ewentualnie skleje kilka płytek, tak, żeby te 3mm grubości uzyskać.

 

Generalnie chciałem zrobić z tego co mam w domu ale chyba jednak szkoda modelu.

 

Sklejkowe podwozie solidnie obciążone wytrzymywało bezproblemowo. Ale zrobię jak radzicie :)

Opublikowano

Witam

Kilka lat temu budując SZD-38 Jantar 1 skala 1:5 rozp.380 cm wykonałem

podwozie chowane,kosztowało to trochę pracy i nerwów ale działa do dziś.

Materiał to głównie Al ,ośki stalowe,tuleje dystsnsowe mosiężne,łożyska

osi plastikowe[lepsze byłyby mosiężne],plastikowa kostka i kilka śróbek.

Prawie wszystko kupione w Castoramie za niecałe 20 PLN.

Załączam kilka zdjęć i okropny szkic jako "twórcze" myślenie z którego

miał powstać piękny rys. techniczny, ale nigdy do tego nie doszło.

Podstawą jest kątownik Al oraz dwa płaskowniki.Bardzo ważną sprawą

jest zachowanie kąta ,w moim przypadku około 130 st.między płaskownikami

do których mocowane jest koło a plastikowymi elementami do których

przymocowana jest dzwignia napędu serwa.Odpowiednio dobrany kąt

zapewnia samoczynne blokowanie się powozia w skrajnych położeniach

i nie obciąża serwa,np. przy twardym lądowaniu.Całość bez koła waży 90 gr.

Na zdjęciach w modelu jest drugi egz. podwozia pomalowany na czarno.

http://img34.imageshack.us/img34/7920/59385429.jpg

http://img13.imageshack.us/img13/9341/obraz034lpx.jpg

http://img29.imageshack.us/img29/4767/obraz035m.jpg

http://img339.imageshack.us/img339/6278/obraz036.jpg

http://img136.imageshack.us/img136/4523/obraz037t.jpg

http://img339.imageshack.us/img339/1729/obraz038x.jpg

http://img39.imageshack.us/img39/686/obraz043j.jpg

http://img15.imageshack.us/img15/1606/obraz044buy.jpg

http://img39.imageshack.us/img39/6153/obraz045f.jpg

http://img15.imageshack.us/img15/9168/obraz046hks.jpg

  • 4 tygodnie później...
  • 4 lata później...
Opublikowano

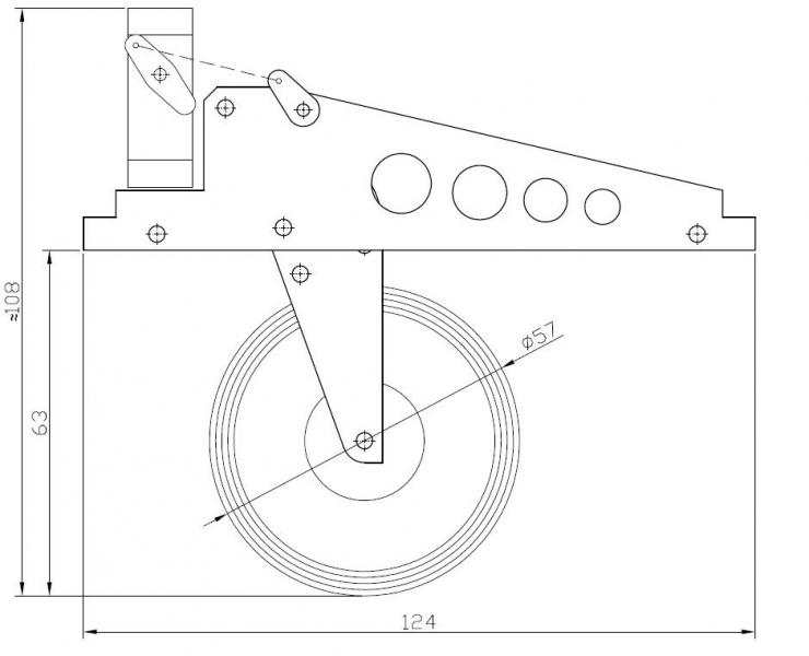
Ja wykonałem domowym sposobem chowane podwozie z tego co miałem pod ręką. Główny budulec to zwykłe aluminium 2 [mm]. Do tego kawałki rurek Al + śruby, nakrętki, podkładki a nawet gwoździe. Konstrukcja oparta na planach z sieci - zmodyfikowana do posiadanych materiałów, wielkości koła i moich założeń. Dużo czasu nie zabrało, wykonywałem to przy użyciu podstawowych narzędzi - podwozie działa prawidłowo. Serwo otwierania / zamykania  o momencie 2,0 [kg*cm] jest w zupełności wystarczające. Sprawdzałem też słabsze (1,1 [kg*cm] ) i też sobie radziło bez większego wysiłku. Podwozie testowałem statycznie pod obciążeniem ≈9 [kg] - wszystko w porządku. Masa całości - 84 [g].

Polecam wykonać samemu. Można dostosować całość do posiadanych materiałów, wymagań wymiarowych a także do koła o odpowiadającej nam średnicy. Trzeba zwrócić uwagę i zachować prostopadłości osi obrotu - i wszystko powinno działać.

Poniżej kilka zdjęć

post-8034-0-88361600-1399836744_thumb.jpg

post-8034-0-86087700-1399836756_thumb.jpg

post-8034-0-24299300-1399836763_thumb.jpg

post-8034-0-28438300-1399836768_thumb.jpg

post-8034-0-71204800-1399836774_thumb.jpg

post-8034-0-76212200-1399836780_thumb.jpg

post-8034-0-08040100-1399836786_thumb.jpg

post-8034-0-02324300-1399836791_thumb.jpg

post-8034-0-16474200-1399836797_thumb.jpg

post-8034-0-36220600-1399836803_thumb.jpg

post-8034-0-91713500-1399836809_thumb.jpg

post-8034-0-05230800-1399836815_thumb.jpg

 

Bardziej szczegółowy opis ze zdjęciami zamieściłem tutaj

Opublikowano

Podwozie z tego linku w pierwszym poście zbudowałem kilka lat temu w wariancie z amortyzatorami. Latało w modelu Kobuz 3 12 kg  i jest zainstalowane w modelu Jantar 2B 9 kg. Działa bez zarzutu .W sumie nie ma co tam czytać. Rysunki pokazują wszystko.Te rysunki były podane w plikach dwg i niemal bezpośrednio poszły na ploter frezujący. Koło 100 mm  Fema . Polecam zainteresowanym kolegom jako pewny mechanizm o niewielkim stopniu komplikacji.

  • 9 miesięcy temu...
Opublikowano

Do podwozia dorobiłem amortyzację z drutu sprężystego

post-8034-0-99875000-1426085601_thumb.jpg

 

Skok podwozia ~5 [mm] po przyłożeniu 4-5 [kg] statycznej siły

post-8034-0-89377000-1426085615_thumb.jpg

 

Wykonałem też laminatowy błotnik metodą traconego styropianu.

post-8034-0-11576900-1426085632_thumb.jpg

 

Nie był on planowany - stąd mało miejsca na montaż. Masa błotnika nieco ponad 1[g]. Z klejem załóżmy nawet całe 2 [g] ;)

post-8034-0-51407500-1426085642.jpg

post-8034-0-74839300-1426085648.jpg

 

Więcej info na forum ADW

  • 2 tygodnie później...
  • 5 tygodni później...
Opublikowano

Model jeszcze na ziemii więc o esploatacji nie mogę nic powiedzieć (ale opiszę to jak będę wiedział co i jak).

Jeśli chodzi o amotryzator to bardziej się obawiam że jest za mocny jest niż za słaby. Podany skok podwozia (5 mm) jest maksymalny i przy nim rama opiera się o zagięcia na drucie - nie wypadnie. Obstawiam, że prędzej wręga oderwie się (lub śrubki zegną) niż wygnie się drut (obym nie dowiedział się ;) ). Jeśli skok będzie wykorzystany tylko np. w 20% zakresu, zbyt "twardy" amortyzator i nie wykorzystane w pełni możliwości tłumienia - wtedy pomyślę nad zmianą.

Amortyzator w spoczynku jest już napięty i trzyma się na swoim miejscu (wybranie w ramie + gwint na śrubkach). Ale dochodzi do tego zabezpieczenie sklejkowe (zdjęcie) które z kolei zabezpieczone będzie nakrętką na jednej ze śrubek (chyba M2)

post-8034-0-29091000-1429644974_thumb.jpg

Zarchiwizowany

Ten temat przebywa obecnie w archiwum. Dodawanie nowych odpowiedzi zostało zablokowane.

  • Ostatnio przeglądający   0 użytkowników

    • Brak zarejestrowanych użytkowników przeglądających tę stronę.
×
×
  • Dodaj nową pozycję...

Powiadomienie o plikach cookie

Umieściliśmy na Twoim urządzeniu pliki cookie, aby pomóc Ci usprawnić przeglądanie strony. Możesz dostosować ustawienia plików cookie, w przeciwnym wypadku zakładamy, że wyrażasz na to zgodę.