Skocz do zawartości

Replika Polskiego silniczka SiM 2b - ambitny projekt


Rekomendowane odpowiedzi

Opublikowano

udało mi się namówić Jacka do zrobienia przyzwoitej jakości fotografii, które mogę opublikować. Dzięki Jacku za podzielenie się swoimi zasobami książkowymi i wiedzą gdzie co jest. No i oczywiście błyskawiczną reakcję.

HPIM3150.JPG.2f969264ae4c4a7ae051e766518ad435.thumb.jpg.e6d41d2b72a8f9ca4d6ee0f6f2ac32a1.jpg

HPIM3158.JPG.c5dc2d7bd1caf926d22d22d95ef1deae.thumb.jpg.51bf0e974e304ac9667c34d03b636637.jpg

HPIM3164.JPG.4682ad288c59dfbbb333861bae07d8d4.thumb.jpg.55d2680405337101dd9ce6bb359211ab.jpg

zamieszczone fotografie właściwie wszystko tłumaczą w jaki sposób działa prostopadłościenna kostka. Jak mocowany jest detal i jak wykonujemy poszczególne operacje przy obróbce tłoka.  

  • Lubię to 2
Opublikowano

znaleziony przeze mnie w necie inny sposób na wykonanie otworu otworu pod sworzeń tłokowy.

wp_p3.jpg.ca5298fc40c25f2e1e757260946abdff.jpg

wyznaczenie osi otworu na tak zwany "ostry punkt". Niestety dla mnie to mało dokładny sposób na wyznaczenie osi...

wp_p6.jpg.43de88d5961cbd667e3673b644078a37.jpg

typowe dalsze ustawienie "ostrego punktu" w osi obrotu. 

wp_p7.jpg.712d65f34b96095f0b174dc40b8b50f2.jpg

wp_p9.jpg.7c2eae64609b44126eefe751bedff2cd.jpg

 Dalej już nie komentuję bo jak widać zabrakło roztaczania otworu przed rozwiercaniem. Rozwiertakiem ręcznym... i ni krzty oleju nie widzę.

Opublikowano

no   mozna :)....

mozna również od drugiej strony zacząć...mozna zrobic od razu kilka tłoków

1/ obtaczamy wstepnie wałek

2/trasujemy  to co nam będzie potrzebne

3/obtoczony wałek  mocujemy w pryzmie

4/ wiercimy otwory pod sworzeń

5/ mocujemy wałek w uchwycie tokarki

6/ toczymy, roztaczamy  a w końcy obcinamy na wymiar

przy ubogim parku maszynowym  metoda ta zdaje egzamin

 

znam to jak niektórzy mówią, z własnej autopsji?

Opublikowano

Jacku, sam opis bez filmu, zdjęć czy choćby rysunków jest słabo przekonujący. Niemniej dawno, dawno temu w podobny sposób wiele rzeczy wykonywałem...

 A "ostry punkt" czy "ostra linia" to była podstawa wyjściowa do dalszej pracy...

z netu ściągnięte kiedyś zdjęcia nawiązujące do prac aktualnie przeze mnie przygotowywanych i wykonywanych:

909952529_ScreenShot06-25-21at06.35AM001.thumb.JPG.4fc34d3a1738f4016e28ef3890150f2d.JPG

przyrząd jak widać to pryzma i stożek Morse'a gwarantujący powtarzalność mocowania.

347692935_ScreenShot06-25-21at06_38AM.thumb.JPG.ac478f897a29b306a356d3d3c2b0551a.JPG

961176284_ScreenShot06-25-21at06.28AM001.thumb.JPG.e4f19e003d5b707d26891b83125a648d.JPG

1346791735_ScreenShot06-25-21at06_25AM.thumb.JPG.abd2aaa1112e8c404240bf9e564b978f.JPG

ostatnie dwie fotografie dokładnie pokazują jak zamocować i jak wykonać pod zawleczki zatoczenia.

Opublikowano
2 godziny temu, f2cmariusz napisał:

Jacku, sam opis bez filmu, zdjęć czy choćby rysunków jest słabo przekonujący

Mariusz,

nikt , a przecież  wiesz o kim mówię  paręnaście  lat temu nie myslał, ani o filmie ani o  zdjęciach , nie  miał również takich  możliwości jakie dzisiaj są. A i rysunków nie potrzebował :)

A sam opis jest na tyle dokładny, ze  osoba  znająca obróbke będzie wiedziała o co chodzi..

Każda droga prowadząca do celu jest dobra,

ale to tak jak w nawigacji  , jest ortodroma i loksodroma . ...cel jeden?

Opublikowano

Cel zawsze jest jeden. Mieć satysfakcję z osiągniętych wyników. Czy to w pracy czy na polu modelarskim. Akurat dużo się dzieje w modelarstwie, dzięki Mecenasowi Pawle Dziubie. Link 

 

 Modelem, otrzymanym od Mecenasa, Filantropa Pawła Dziuby Panowie Rafał Brzeziński i Michał Szatecki mocno namieszali na wczorajszych zawodach w Wierzawicach pokonując całą dotychczasową Kadrę Narodową przygotowującą się do Mistrzostw Świata we Włocławku. Ciekawi mnie co z tym zrobi Komisja Modelarska przy Aeroklubie Polskim.

Intryga.thumb.JPG.80072f28345d79398207a9e6cdd2fc39.JPG

Model jak model. Intersująca jest dedykacja trwale naniesiona na skrzydło:

"MEMORY OF WALDEMAR SALACH 1934-2018 / INSTRUKTOR ZAWODNIK KAT. F2C" 

I tu, Drogi mi Jacku dotykamy setna sprawy. To także był i mój nauczyciel. W kantorku obok sali 308/309 vis a vis wejścia do "Gawędy"  stała tokarka TSB-20 oraz frezarka fxb 12. I pamiętam pierwszą moją prośbę o skorzystanie z tych maszyn. Zanim zacząłem spędziłem wiele godzin przy desce kreślarskiej zanim powstała prawidłowa dokumentacja techniczna wykonywanego elementu. O nożach wykonanych z "kratówki" SW18 nawet nie wspomnę. A dalej zawsze było podobnie.    

12339334_1024719654253333_3772621575569894426_o.thumb.jpg.2eeb6e0728410466d29032fc7ab01261.jpg

To tylko jedno z niewielu fotografii pokazujących mnie podczas warzenia i porównywanie wyniku wagi z poprzedniego roku.

Dokumentację pozyskiwało się od zaprzyjaźnionych modelarzy:

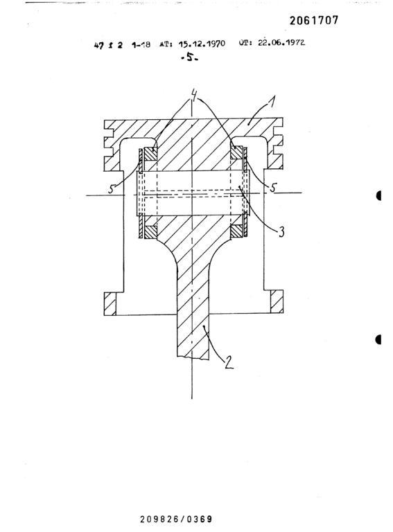
1922349197_f9f2eafe-708c-4873-9b66-dab6c2f898db(1).thumb.png.0ff738c2f5707393610c88b6d2ce26d1.png

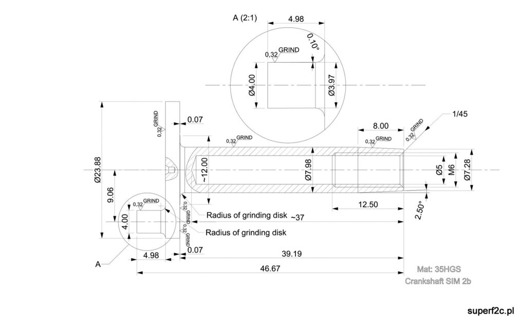
Data to 15 grudzień 1970 roku. Tego typu dokumentację dostałem od zespołu Andrzej Ziemniak Aleksander Gałkowski co umożliwiło nam budowę silnika z przednim wydechem, stalowym przodem i tłokiem z podpartym sworzniem o denko. Projekt trafił w ślepy zaułek ze względu na powstanie technologii ABC czy AAC. Cała nasza praca jest zachowana i na pewno będzie publikowana. 

IMG_3326-001.thumb.JPG.de12a90cce29e9fb07e43df9e5d35535.JPG

główka korbowodu silnika PB która była inspiracją naszej konstrukcji.

I na pewno będzie dużo kolorowych makro fotografii. Albo i link do tego tematu.

  

 

  • Dzięki 1
Opublikowano
34 minuty temu, f2cmariusz napisał:

To także był i mój nauczyciel.

to także był nauczyciel mojego Syna i także mój Przyjaciel...więc płyniemy tą  samą łodzią

 

34 minuty temu, f2cmariusz napisał:

Ciekawi mnie co z tym zrobi Komisja Modelarska przy Aeroklubie Polskim.

nic

Opublikowano

IMG_3007.JPG.3574012ab1099071725d20424d589ad4.JPG

tu gołym okiem (lewy tłok) widać nie osiowość otworu względem wytrasowanej "ostrej linii"

IMG_3009.JPG.884227bb130e3dac740246981d56a599.JPG

także widać nie osiowość sworznia względem okrągłego tłoka.

 No ale może chodzi o mechanizm korbowy z osią przesuniętą sworznia tłoka...

Dla mnie niestety brak wytaczania dziury po wiertle daje takie efekty. No może czasami i się uda.

IMG_2898.JPG.cbb46c0fef7264013c6568c44c0a8bf4.JPG

 podobnie jak i w tym wypadku. Jeśli rozwiertak ma wejść w ten otwór po wiertle to nigdy się to nie uda ze względu na brak płaskiej powierzchni na wejściu rozwiertaka.

lp_tooling.jpg.e02feecec7ae985c192eb6103085424f.jpg

tu kolejny zestaw do wykonania prawidłowo otworu pasowanego pod sworzeń z zawleczkami. Paul Bugl engines.

  • Lubię to 2
Opublikowano
6 minut temu, f2cmariusz napisał:

lp_tooling.jpg.e02feecec7ae985c192eb6103085424f.jpg

tu kolejny zestaw do wykonania prawidłowo otworu pasowanego pod sworzeń z zawleczkami. Paul Bugl engines.

Paweł Bugl to człowiek, który wyprzedził swoją epokę...chyba każdy zorientowany w temacie to przyzna.

Szkoda, że już go z nami nie ma...

Opublikowano

IMG_3750.thumb.JPG.ea53c93170c229a46a604fb581a4b5d7.JPG

 W dniu dzisiejszym spotkała mnie miła niespodzianka. Trochę porozmawialiśmy. Ważne że lustro zniesione i załadowane do samochodu...

  • Lubię to 2
Opublikowano

Przed chwilą wróciłem do domu ?

Nasze spotkania zawsze były dla mnie przyjemnością i wyróżnieniem...

Mam nadzieję że od października wrócimy do reżimu co 2 tygodnie, bo moja uczelnia chyba wraca do normalnego trybu nauczania ?

 

 

  • 2 tygodnie później...
Opublikowano

Korbowód a konkretnie dolna panewka. Wykonanie panewki to przede wszystkim materiał o stosowej średnicy. Niestety dostępne są średnice od fi13, dużo za duże w stosunku do malutkiej panewki(fi6).

31538394_ScreenShot07-12-21at10_01AM.thumb.jpg.ce80536fd06eaf92c42dae118ae6b666.jpg

 coś muszę znaleźć. co by nie wyrzucać 3/4 w wióry... 

19.thumb.jpg.fd7fe808e7a499c1f5df1abecc96b849.jpg

wykorbienie zostało wykonane z wewnętrzną zbieżnością( około 0,03 mm na średnicy). Taki sam kształt musi mieć wewnętrzna panewka stopy korbowodu.

701081870_wymiarywykonawczekarterpluspanewkakorbowodu.thumb.jpg.17d4a418c87a9af1c170384067b58f68.jpg

tu całościowy, nieskończony przekrój powstały na potrzeby wytoczenia pierwszego na gotowo kartera z gwintem M26x1 zamiast jak pierwotnie planowałem M27x11587766606_zbierznowewntrznapanewkikorbowodu.thumb.jpg.29b60cef16374fd98daedaecf257935d.jpg

same konkretne wymiary panewki ze zbierznością 0,2 stopnia na stronę.

1003070693_0412stopniazbierznowewntrznapanewkikorbowodu.thumb.jpg.0122e35f1d3faad4aecfe4a5da1a58ed.jpg

takie wykonanie zapewnia po nałożeniu korbowodu na czop wału korbowego luz na film olejowy w granicach 0,015 na stronę.

336107275_0412stopniazbierznowewntrznapanewkikorbowodurysunekpogladowy.thumb.jpg.182b416452dc15a75a80caa2dc95c909.jpg

wymaga to oddania odpowiedniego rozwiertaka do przeszlifowania ze zbieżnościami jak na rysunku. Myślę że to nie będzie problem zlecić... 

 

  • Lubię to 3
Opublikowano

Gdy byłem na etapie Webry ,czyli dawno i dorabiałem korbowody to tulejki slizgowe robiłem z B-101 i było ok ,a pracowało to w FSR .Aż sprawdziłem brąz B 555 jest brązem odlewniczym ,tak więc chyba pomyłka?

 

 

Opublikowano
2 godziny temu, symon5 napisał:

Gdy byłem na etapie Webry ,czyli dawno i dorabiałem korbowody to tulejki slizgowe robiłem z B-101 i było ok ,a pracowało to w FSR .Aż sprawdziłem brąz B 555 jest brązem odlewniczym ,tak więc chyba pomyłka?

 

 

Jestem pewien że w takim razie część panewek wykonam z B 101  a część z Rg7. 

 Dlaczego? Mam po prostu duże panewki o ściance co najmniej 7 mm o oznaczeniu B101 jak i Rg7 zakupione parę lat temu na złomowisku w Falenicy. A że są nabite oznaczenia to długo wtedy się nie zastanawiałem.

 Co do samego materiału B101 czy Rg7:

1048196550_ScreenShot07-12-21at07_38PM.thumb.jpg.8cf2a5dfa1e1254112880a6ba44757b4.jpg

 Posiada dobrą lejność. Odlewałem formy wtryskowe z metalu kolorowego. To żeby odlew był bardzo dobry warto było dodać parę kilo starych panewek.

 

2091865918_ScreenShot07-12-21at07_39PM.thumb.jpg.9c977a895e8106e3863cb340e81ac206.jpg

 Niedostateczne smarowanie to podczas uruchamiania zalanego silnika normalka.

  

221993355_ScreenShot07-12-21at07_42PM.thumb.jpg.e6542386dfeaecd56c536c3b93a030c7.jpg

tutaj jest B-101 ale aż średnica 15 mm a ja będę wykonywał element o średnicy 6 mm...

 

1954532533_ScreenShot07-12-21at08_26PM.thumb.jpg.4c72a5abeff144d3bcd4683b9846b218.jpg

Tu widać ewidentnie że tuleje mogą być odlewane odśrodkowo jak i w kokili z materiałów B101 jak Rg7... Ja wiem że przy niedostatecznym smarowaniu Rg7 jest lepszy. A jak silniczek będzie zalany to na pewno próbując obrócić wałem dojdzie do zerwania filmu olejowego. A przy każdym uruchamianiu jest to niestety normalne.

  • Lubię to 1
Opublikowano
Godzinę temu, Grzesiek napisał:

Mariusz u nich masz coś co być może Ciebie zainteresuje.

https://www.albeco.com.pl/PL-H94/Oferta/Search/catID=35/tuleje-spiekane.html

temat już przerabiany przeze mnie dawno dawno temu. Bardzo aktualny ale przy produkcji paru tysięcy na dzień. A nie 67 sztuk całej produkcji...

 Koszt oprzyrządowania zabije opłacalność takiego przedsięwzięcia. Byłem pod Łomiankami w fabryce spieków i się wtedy dowiadywałem. Nie te ilości. Nie ta skala produkcji... A co do materiału? Spiek może być dowolny. Jaki sobie życzę. Tylko jaki ja sobie mogę życzyć? Bo tu akurat zabrakło mi doświadczenia. Dlatego zostanę przy swoim. Czyli każda panewka będzie toczona z wiadomego materiału, pozyskanego ze starych dużych panewek z oznaczeniem Rg7 oraz z wałków wcześniej zakupionych o oznaczeniu B-101. Całe szczęście, mam do dyspozycji tokarkę CNC210 gdzie powtarzalność zmiany narzędzia jest dla mnie zadawalająca.

Opublikowano

żeby nie być gołosłownym i jednocześnie spełnic oczekiwania Mariusza w kwestii dokumentowania, tego co i jak  było czy jest robione.. wklejam poniżej

HPIM3174.JPG

HPIM3172.JPG

Opublikowano

A jeszcze taka uwaga ,niezłośliwa . SIM nie będzie miał bóg wie jakich osiągów tak więc myślę że jakikolwiek brąz będzie dobry  ? . A jeszcze taka uwaga , zastanawia mnie czy tulejka ze spieku nadaje się do stopy korbowodu .

  • Ostatnio przeglądający   0 użytkowników

    • Brak zarejestrowanych użytkowników przeglądających tę stronę.
×
×
  • Dodaj nową pozycję...

Powiadomienie o plikach cookie

Umieściliśmy na Twoim urządzeniu pliki cookie, aby pomóc Ci usprawnić przeglądanie strony. Możesz dostosować ustawienia plików cookie, w przeciwnym wypadku zakładamy, że wyrażasz na to zgodę.